Packungs-Cartridge-Einheiten 9984

Packungs-Cartridge-Einheiten 9984

Packungs-Cartridge-Einheiten 9984
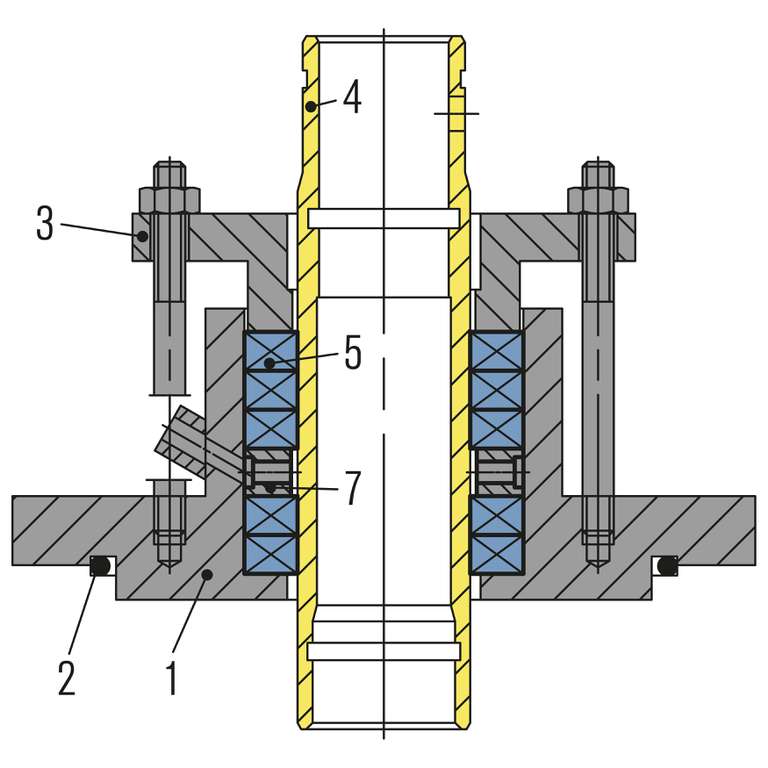
Pos. Benennung
1 Stopfbuchsgehäuse
2 O-Ring oder Statotherm® Profilring
3 Stopfbuchsbrille
4 Wellenhülse
5 Packungssatz
7 Laternenring

Packungs-Cartridge-Einheiten 9984

Merkmale

Packungs-Cartridge-Einheiten zeichnen sich durch den einfachen Systemaufbau und eine gewisse Robustheit aus. Ideal zur Aufnahme großer axialer und radialer Wellenbewegungen und je nach Einsatzgegebenheiten und der Packungsqualität geeignet für Trockenlauf. Abhängig vom Medium und den Betriebsbedingungen erfolgt die Auswahl der Packungsqualität. EagleBurgmann Packungs- Cartridges werden in verschiedenen Industriebereichen mit Erfolg eingesetzt. Die Auslegung erfolgt entsprechend den Einsatzdaten.

Vorteile

  • Einfacher und schneller Packungswechsel durch geteilte Brille möglich
  • Besonders schneller und einfacher Einbau

Einsatzbereich

Abgedeckter Einsatzbereich durch bisherige Anwendungen:

Wellendurchmesser:
d = 6 ... 1.000 mm (1/4" … 39")
Druck:
p = Vakuum ... 660 bar (9.570 PSI)
Temperatur:
t = -40 °C ... +500 °C (-40 °F … +932 °F)
Gleitgeschwindigkeit:
vg = max. 20 m/s (66 ft/s)

Standards und Freigaben

Abhängig von eingesetztem Material

Lieferformen

Lieferbare Ausführungen
  • Montagefertige Cartridge-Einheit, Anschlussmaße nach DIN EN/ASME (Rührwerke).
  • „Live-Loaded-System“ (außen angeordnete Tellerbefederung) mit definierter Flächenpressung und optischer Kontrolle.
  • Mit integriertem Wellenlager lieferbar.
  • Schmierung oder Sperrgasbeaufschlagung über Laternenring möglich. Wellenhülse mit oder gehärtet zum Schutz gegen abrasive Partikel im Medium.
  • Bei „schwimmend“ angeordnetem Packungssatz geeignet für große radiale Wellenauslenkungen.



Produktvarianten

Pos. Benennung
1 Stopfbuchsgehäuse
2 O-Ring oder Statotherm® Profilring
3 Stopfbuchsbrille
4 Wellenhülse
5 Packungssatz
6 Leithülse für Federscheiben
7 Laternenring
Pos. Benennung
1 Stopfbuchsgehäuse
2 O-Ring oder Statotherm® Profilring
3 Stopfbuchsbrille
4 Wellenhülse
5 Packungssatz
6 Leithülse für Federscheiben
8 Kohlenstoffring
9 Verdrehsicherung
10 Sicherheitsbalg

Ähnliche Produkte

Rußbläser-Dichtsatz 1

Rußbläsersatz 1 9650/SB1 ist ein Dichtsatz aus einer Kombination von Packungsringen aus Isartherm® A 6011/A und vorgepressten Reingrafitringen Rotatherm® 0901/B7.

Rußbläser-Dichtsatz 2

Rußbläsersatz 2 9650/SB2 ist ein Dichtsatz aus einer Kombination von Packungsringen aus Araflon® A 6426 und vorgepressten Reingrafitringen Rotatherm® 0901/B7.
Kontakt

Individuelle Lösung anfragen

Wir entwickeln und produzieren kundenspezifische Sonder- und Einzellösungen für jeden Anwendungsfall.

Experte kontaktieren Referenzprojekte anzeigen
Zurück zur Übersicht